wins stage 1...



Cycling News Updated Daily Since 2007

Legends of the Classics
(Image credit: Getty Images via cyclingweekly.com)


Support The DougReport: Ride a Bike
Doug Report Cycling Daily
-

Column One
November 30, 2025

Doug Report Cycling Daily







Thibau Nys wins second consecutive 2025-2026 World Cup round in Flamanville


"British champ Cameron Mason records first World Cup podium."
By Rob Sturney (cyclingmagazine.ca) (Image Credit not Found)
-C1-






UCI Cyclocross World Cup Flamanville: Aniek van Alphen dominates to take a first World Cup win in France


"French national champion Amandine Fouquenet takes a career best second place, while Ceylin del Carmen Alvarado returns to racing with third place."
By Kieran Wood (cyclinguptodate.com) (Image credit: Getty Images via cyclingnews.com)
-C1-





Pogacar and van der Poel back UCI push for cyclocross to be added to 2030 Winter Olympics


"The International Cycling Union (UCI) is campaigning to add cyclocross to the 2030 Winter Olympics program in the French Alps, with backing from cycling stars Mathieu van der Poel, Tadej Pogačar and Puck Pieterse."
By Ethan Lessiter (domestiquecycling.com) (Photo: Cor Vos)
-C1-





The Ever More Curious Case of George Hincapie


"News came in recently of George Hincapie’s ‘exciting new cycling project’, the Modern Adventure Cycling Project."
(crankpunk.com) (Image credit: Modern Adventure Pro Cycling)
-C1-





UCI world champion warns of real dopers in virtual races


"After winning his third UCI Cycling eSports World Championship title in mid-November, Jason Osborne believes the online sport has a bright future, but he also has suspicions and warns that some virtual race competitors are doping with performance enhancing drugs."
Author: John Woodson (granfondodailynews.com) (Image Credit not Found)
-C1-







2025 UCI Cyclocross World Cup Flamanville, France Live Streams


"2025 UCI Cyclocross World Cup Flamanville, France, Sunday November 30th 2025:

Elite Women at 13:00 CET, 7:40am ET

Elite Men at 14:30 CET, 9:10am ET

The races will be shown on FloBikes starting at about 4:30am Pacific."

(cyclingfans.com) Image: cyclocross24.com
-C1-



Column Two
November 30, 2025
Doug Report Cycling Daily






Remco, Red Bull and the Ronde - Breaking down Evenepoel's Tour of Flanders chances


"Remco Evenepoel has said that he has a Plan A and a Plan B for his 2026 racing schedule. The Tour de France is a certainty, the Giro d'Italia is a fading possibility and, most intriguingly of all, a Tour of Flanders debut is under consideration."
By Barry Ryan (domestiquecycling.com) (Photo: Cor Vos)
-C2-








"Remco is not Pogacar" - Johan Bruyneel strongly argues against Tour of Flanders debut for Olympic Champion


"Remco Evenepoel's schedule will be decided in the next few days with the route reveal of the Giro d'Italia."
By Rúben Silva (cyclinguptodate.com) (Image credit: Getty Images via cyclingnews.com)
-C2-





The justifiably unfair choice behind World Championships courses


"Tim Merlier is normally not someone who speaks loudly. He measures his words and avoids big statements. So when he last week chose to speak about the way World Championships courses are selected and how they disadvantage sprinters, it was clear that something had genuinely been bothering him."
By Michiel van Looijengoed (domestiquecycling.com) Image: biker.sk
-C2-





Dumoulin reveals mental struggles behind early retirement - 'I wasn't the boss of my own career'


"Former Giro d'Italia champion Tom Dumoulin has opened up about the pressures that forced him to retire from professional cycling at just 31."
By Ethan Lessiter (domestiquecycling.com) (Photo: Cor Vos)
-C2-





Join the ranks of the Elite


"Pedal like Pogačar with the Elite Justo 2, the pro-level smart trainer engineered for your best ride."
by Sponsored (cyclist.co.uk) Photo via pinkbike.com
-C2-



Column Three
November 30, 2025
Doug Report Cycling Daily






Wout van Aert weighs in on cycling’s ‘fragile’ finances


"The Belgian star says the sport leans too heavily on sponsors and needs its own revenue stream - from ticketing to TV rights - to stay healthy."
By Matt Hansen (cyclingmagazine.ca) Image: Wout van Aert/Instagram
-C3-





“I’m proud that Dave Brailsford doesn’t like me” - Emma Pooley on the Tour de France’s weight debate, growing women’s sport, and battling cycling’s old-school


"The 2010 world time trial champion and Olympic silver medalist also chats to the road.cc Podcast about her personal relationship with food, encountering MAMILs and bad drivers on the commute, and why she hates being called a ‘cyclist."
By Ryan Mallon (road.cc) (credit: Giro Rosa)
-C3-





Mads Pedersen admits early career lacked focus - 'I fooled around too much'


"2019 world champion Mads Pedersen has revealed that his early professional career suffered due to a lack of focus, potentially costing him results during his formative years in the peloton."
By Ethan Lessiter (domestiquecycling.com) (Photo: Cor Vos)
-C3-





Should all cyclists require a ‘bike handling license’ to race? Retired pro calls for proficiency test and “crash course” to ride in peloton, as Tom Dumoulin says protective clothing should be “normalized”


"Cycling is the only sport where you go downhill at 100 kilometers per hour without any protection,” 2017 Giro d’Italia winner Dumoulin, who has previously called for padded kit, said."
By Ryan Mallon (road.cc) (credit: Zac Williams/SWpix.com)
-C3-





One of the comfiest pairs of cycling shoes I've ever worn have over $100 off this Cyber Monday


"The first time I ever cycled up a proper mountain, it was in the Fizik Vento Infinito Knit Carbon 2 road shoes."
By Adam Becket (cyclingweekly.com) Photo via thesweetcyclists.com
-C3-





Castelli Perfetto RoS 3 Jacket


"It is Perfetto in some specific conditions, and not as good in some others - a little underwhelming at this price."
by Jez Ash (road.cc) (Image Credit: road.cc)
-C3-






Column One
November 29, 2025

Doug Report Cycling Daily







Favorites, startlist and how to watch in the USA and UK - Flamanville Cyclocross World Cup round 2


"The Cyclocross World Cup began last week in Tabor and this weekend we've got another international race."
By Rúben Silva (cyclinguptodate.com) Photo: Imago
-C1-





From spreadsheets to summits: Vingegaard imagines the life he could have lived


"The double Tour de France winner Jonas Vingegaard reflects on alternate career paths, future plans, and the idols who shaped him."
By Matt Hansen (cyclingmagazine.ca) (Image credit: Getty Images via cyclingnews.com)
-C1-





“It doesn’t bother me. It doesn’t change anything in my life” - Tadej Pogacar responds for first time to Roger De Vlaeminck’s brutal criticisms


"Tadej Pogacar has delivered his first public response to the fierce criticism leveled at him by Roger De Vlaeminck, breaking his silence during an appearance on Rai Sport Radiocorsa."
By Kieran Wood (cyclinguptodate.com) (Image Credit not Found)
-C1-





João Almeida holds peloton accountable for crashes: ‘Maybe some riders need to do a course to learn cornering and descents’


"João Almeida has rarely sounded as open as he did in a recent appearance on the Sigma Sports podcast with Matt Stephens."
By Michiel van Looijengoed (domestiquecycling.com) (Photo: Cor Vos)
-C1-





How Matteo Jorgenson & Sepp Kuss will be key to Visma and Vingegaard's quest to turn the tide against Tadej Pogacar in 2026


"Jorgenson, at 26, needs the resilience to carry form deep into the final week, but he is only one piece. Sepp Kuss, Simon Yates, Wout van Aert and new signing Davide Piganzoli also need to reach the Grande Boucle with sharper condition and greater consistency."
By Kieran Wood (cyclinguptodate.com) (Image credit: Getty Images via cyclingnews.com)
-C1-





Ornot's New Super Thermal Cargo Tights


"If you’re the rider who frequently tackles long, cold rides, the combination of wind protection, storage capacity, and the ability to regulate body temperature becomes essential for comfort and safety."
By Ron Frazelle (bikerumor.com) (Photos / Ornot)
-C1-



Column Two
November 29, 2025
Doug Report Cycling Daily







"Tradition is holding this sport back" - Tadej Pogacar's proposal for Grand Tour overhaul backed by rider's union boss Adam Hansen


"Tadej Pogacar’s call for a rethink of cycling’s Grand Tour calendar has received public support from Adam Hansen, who endorsed the idea in a post on X."
By Kieran Wood (cyclinguptodate.com) (Image credit: Tim de Waele/Getty Images via cyclingnews.com)
-C2-






Wout van Aert urges change to cycling's 'fragile' economic model


"In the past I didn’t concern myself with it at all, but by being in cycling longer I worry more and more about how fragile our format is."
By Barry Ryan (domestiquecycling.com)  (Photo via cyclinguptodate.com)
-C2-





Roglic: 'If I won Grand Tours after being a ski jumper until I was 22, anyone can do it'


"In an interview with Marca, the five-time Grand Tour winner reflected on his relationship with the Tour de France, discussed the potential of younger riders, including his own teammate Florian Lipowitz, and signaled his ambition to remain competitive in the biggest races in 2026."
By Joe Morgan (domestiquecycling.com) (Photo: Cor Vos)
-C2-





Why Isaac del Toro is central to Tadej Pogacar’s Milano Sanremo ambitions in 2026


"The Del Toro factor: explosive power and elite descending."
By Kieran Wood (cyclinguptodate.com) (Image credit: Getty Images via cyclingnews.com)
-C2-





Carradice Safari Earby Bar Bag 7L


"Robust, well designed, great capacity, stable and very easy to move between bikes - this is a really excellent product."
by Matt Swaine (road.cc) (Image Credit: road.cc)
-C2-





How Kilojoules Became the New Sexy in Cycling Training


"According to coaches at Red Bull Bora Hansgrohe’s Under-23 development program, riders who can still produce strong power outputs after expending ~3,000 kJ demonstrate a level of durability and endurance that could translate to race-level performance."
(crankpunk.com) (Image Credit not Found)
-C2-





My friend had his £9,000 dream bike stolen, so he went online to turn his garage into a fortress


"There's a wealth of security kit that can help you protect your pride and joy, and I was surprised to see it wasn't ludicrously expensive."
By Simon Richardson (cyclingweekly.com) (Image credit: Future)
-C2-



Column Three
November 29, 2025
Doug Report Cycling Daily






Evenepoel all but confirms 2026 Tour participation - '99% chance I'll be at the start'


"Evenepoel has explained some of the factors behind his move from Soudal Quick Step to Red Bull Bora Hansgrohe, while all but confirming he will be on the start line in Barcelona for the Tour de France next summer."
By Joe Morgan (domestiquecycling.com) (Photo: Cor Vos)
-C3-





‘Now I’m in Spain chasing numbers on my Garmin’ - How Lukas Kubis turned 36,000km of hard work into a ProTour contract


"Lukas Kubis spent six years at the continental level before stepping up to the ProTour with the Unibet Rose Rockets."
By Joe Morgan (domestiquecycling.com) (Photo: Cor Vos)
-C3-





Learning to suffer is the key, psychology will be the next frontier in cycling


"Psychology becomes another key factor in the preparation of cyclists."
(Image credit: Getty Images via cyclingnews.com)
-C3-





Kostüme rejects Black Friday... By launching its most expensive cycling clothing yet, plus Superarmour built for -8°C, some VERY bling hubs, and even more head-turning winter kit


"All the best new tech we've spotted this week, including stuff from Pas Normal Studios, Gobik, Tactic Racing, Kostüme and Vekta."
By Dan Alexander (road.cc) (Image Credit: road.cc)
-C3-





Peloton vs. Echelon: An expert's deep dive into what's good, what's not and which is a better choice for you


"Both offer live and on-demand classes, an online community and off-bike sessions, so how do you decide between them."
By Hannah Bussey (cyclingweekly.com) (Image credit: Peloton/ Echelon)
-C3-





MAAP Pro Aero Jersey Review: a proper race day specialist


"Updated aero features and greater breathability make for a World Tour worthy jersey"
By Andy Turner (cyclingweekly.com) (Image credit: Future - Andy Turner)
-C3-





The Priority Glide is a Simple eBike That Makes Casual Cruising Easy


"This cruiser offers a very comfortable riding position, and the swept-back handlebars allow you to sit up straight. While proper seat height is crucial on any high-performance bicycle, the Glide is a casual cruiser, so I left the seat at a lower, easy-to-mount height."
Written by Steve Fisher (bikerumor.com) (Image Credit not Found)
-C3-






Column One
November 28, 2025

Doug Report Cycling Daily






Who is American ’cross sensation Andrew Strohmeyer?


"After a breakout ride in Tábor, the 23-year-old American is betting his season - and his future - on a full winter in Europe as he chases a European pro contract."
By Matt Hansen (cyclingmagazine.ca) Vittoria/Instagram
-C1-





Mark Cavendish hints at creating own pro cycling team in future, claiming riders “aren’t doing enough to make money in their own right”


"There are revenue streams that aren’t being properly utilized,” the retired British sprinter said in a recent interview discussing pro cycling’s business model."
By Ryan Mallon (road.cc) (credit: Simon Wilkinson/SWpix.com)
-C1-






Mathieu van der Poel reveals cyclocross schedule as he aims for Worlds record


"The World Cup in Namur on December 14 is provisionally included on his schedule, which he revealed on social media, but his eventual participation is still contingent on his race fitness."
By Barry Ryan (domestiquecycling.com) (Photo: Cor Vos)
-C1-





'We say goodbye to a great partner who we will be racing against in the near future' - Bahrain Victorious confirms Merida exit


"No announcement on future partner yet, but Bianchi reported."
By Adam Becket (cyclingweekly.com) (Image credit: Getty Images)
-C1-





Tadej Pogacar wants Giro and Vuelta to swap dates on calendar


"Citing the respective weather conditions in Italy and Spain in May and August, Tadej Pogacar has suggested the two Grand Tours would be better served by swapping places on the calendar."
By Barry Ryan (domestiquecycling.com) (Photo: Cor Vos)
-C1-








Dear Bike Industry: Thanks a Million


"2025 marked my 30th Anniversary in the bike industry."
By Ron Frazelle (bikerumor.com) (Photos / Dave Woolley)
-C1-





SunGod GTs with 8KO Iris Photochromic lens


"Excellent lenses, stylish and customizable and a great warranty - though I'd like a hard case at this price."
by Ben Woodhouse (road.cc) (Image Credit: road.cc)
-C1-





Feedback Sports Introduces New Pro Ultralight Travel-Friendly Bike Repair Stand


"The Pro Ultralight Repair Stand maintains its position as the lightest and most compact in the brand’s lineup."
By Jeremy Benson (bikerumor.com) (All photos/Feedback Sports)
-C1-



Column Two
November 28, 2025
Doug Report Cycling Daily







More ex-pros join Ineos staff in an attempt to bring team back to glory


"Elia Viviani and Daryl Impey bring top-tier racing experience to the Grenadiers’ 2026 setup."
By Matt Hansen (cyclingmagazine.ca)  (Image credit: Getty Images via cyclingweekly.com)
-C2-








'Sometimes you have to embrace change' - Biniam Girmay confirmed to be leaving Intermarché Wanty, expected to sign for NSN Cycling


"Eritrean sprinter spent five years with Intermarché."
By Adam Becket (cyclingweekly.com) (Image credit: Getty Images)
-C2-





Gear Break: 2025 Gift Guide #1 - Black Friday and Cyber Monday


"As our longtime readers have come to expect at this time of year, PezCycling News is back with the first in a series of holiday gift guides for 2025."
By Andy Rohrer (pezcyclingnews.com) (Image Credit not Found)
-C2-





Is the new XT Di2 actually better the new XTR Di2?


"Shimano's "second-tier" group tips the price/performance scales decisively."
By Terry McKall (cyclingmagazine.ca) (Image Credit not Found)
-C2-





I think I might have just made the perfect road, gravel and cyclocross bike all in one


"Liam dives into the details of this unique build which, according to Liam, has made his road bike next to useless. Dare we look at the comments section!"
By Liam Cahill (road.cc) (credit: Liam Cahill)
-C2-





Zero to Zwift in 15 minutes! Plus five great tips to get up to speed


"How quickly can you be up and running? We grab a newbie and put it to the test. PLUS get the new KICKR Core 2 for just £399 this weekend!"
By Dave Atkinson (road.cc) (Image Credit: road.cc)
-C2-






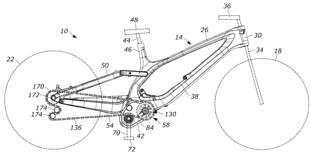
This Specialized patent reveals a dual chain


"Everything indicates that this project is already in a very advanced phase."
By Migue A. (en.brujulabike.com) Images extracted from the patent and shared by Pinkbike
-C2-





Ekoi launches reflective finish for Corsa Light helmet


"French brand Ekoi has updated its lightweight Corsa Light helmet with a new fully reflective finish, designed to boost rider visibility in low-light conditions."
By Paul Horta-Hopkins (cycletechreview.com) Photo via ekoi.com
-C2-



Column Three
November 28, 2025
Doug Report Cycling Daily






Patrick Lefevere leaves hospital after 24-day stay due to serious illness


"The 70-year-old Belgian made it clear his health struggles are far from over. "The road to recovery is still long, but I'm on the right track. I want to thank all the specialists and nurses for the excellent care."
By Ethan Lessiter (domestiquecycling.com) (Photo: Cor Vos)
-C3-





Toon Aerts says doping saga ‘stole 2 years’ as he seeks closure


"The European champion says he’s finally found closure, even if the mystery behind his 2022 positive test still gnaws at him."
By Matt Hansen (cyclingmagazine.ca) Image: Molly Hurford
-C3-






Hot Deal: New Wahoo Kickr Core 2 is $399 (with Zwift Cog or Cassette!)


"There are nearly 150 deals listed right now in my sports tech massive deals tracker, which I’m updating near-hourly. However, this one on the Kickr Core 2 (my just published longer term review last week) from Wahoo might be one of the best deals of the season."
By Ray Maker (dcrainmaker.com) (Photo: Ray Maker)
-C3-








Pro Bike Check: Ben Frederick’s Ti Cyclocross Mosaic XT-1, Most Recent UCI-Approved Bike


"If we had to guess what the most recent bike on the UCI-approved list was, we’d have never expected it to be this beautiful, but decidedly conventional Mosaic XT-1 titanium cyclocross bike."
By Cory Benson (bikerumor.com) (Image Credit not Found)
-C3-






Gobik Envy 2.0 Jacket - Protection for cool conditions


"Whether you call it a jacket or a jersey, the Gobik Envy 2.0 performed very well in cool, autumnal conditions and offered protection without compromising performance."
By Tim Russon (cyclingweekly.com) (Image credit: Andy Jones)
-C3-





“All they did was give me a £6.99 refund” - Cyclist suing Lime over eBike crash which “snapped his leg like a twig”


"William Radford, who crashed after the eBike's rear wheel slid out, says the hire bike company “knows it has a problem” after several reports of similar injuries caused by the machine’s weight, known as ‘Lime bike leg."
By Ryan Mallon (road.cc) (Photo credit: Joshua Garfield)
-C3-





Tour de France, Paris Roubaix and more for $49 - This Walmart+ Black Friday deal is a nifty way to save on Peacock’s cycling coverage next season


"The retailing giant is offering 50% off Walmart+ and throwing in a Peacock Premium worth $109 free."
By Patrick Fletcher (cyclingweekly.com) (Image credit: Getty Images)
-C3-






Doug Report Cycling Daily






We need your support.

As little as a $5.00 monthly contribution is important and will help keep us online, give more if you are able!

The DougReport does not have advertisements, your donations are the only source of funding!





---

"Our Mission is to help young people of all backgrounds find and chase their passion through the sport of cycling by promoting education, mentorship, and access to quality cycling opportunities."








"We’ve all been there: we’re scrolling and come across a news article that grabs our attention. Curiously, we click the link only to be blocked by a paywall."
By Mary James (allaboutcookies.org) (Image Credit not Found)










Thumbnail: Bicycling Art.
"BicyclingArt.com is the site for vintage cycling posters and prints. They are the number one source for vintage cycling posters and fine art prints.

A large selection of contemporary artwork and vintage print items are available and their selection is growing daily."
(bicyclingart.com)











Have suggestions or something you would like posted? News tips? Events?  Send it to
info@drcn.us
(Note: Weird Unsolicited Proposals, Spam, SEO Offers, etc, will be ignored)






Cycling News since December 2007
Support The DougReport: Ride a Bike
Doug Report Cycling Daily































































     vspace=